在线询价
产品展示

Product

首页 > 产品展示
耐磨热电偶 价格:

产品特点
测温范围-200~1150°C
可提供单支或双支热电偶
多种耐磨材料可选,满足不同场合应用
接线盒内可带温度变送器
可选择K、E型分度号偶芯
抗震耐磨、测温范围广,性能稳定
适用于高温耐磨场合温度测量

应用
流化床(PFBC)、密炼机、水泥转窑、煤粉炉、球磨机、沸腾炉
电力、水泥、冶金、环保、玻璃、化工和橡胶等行业

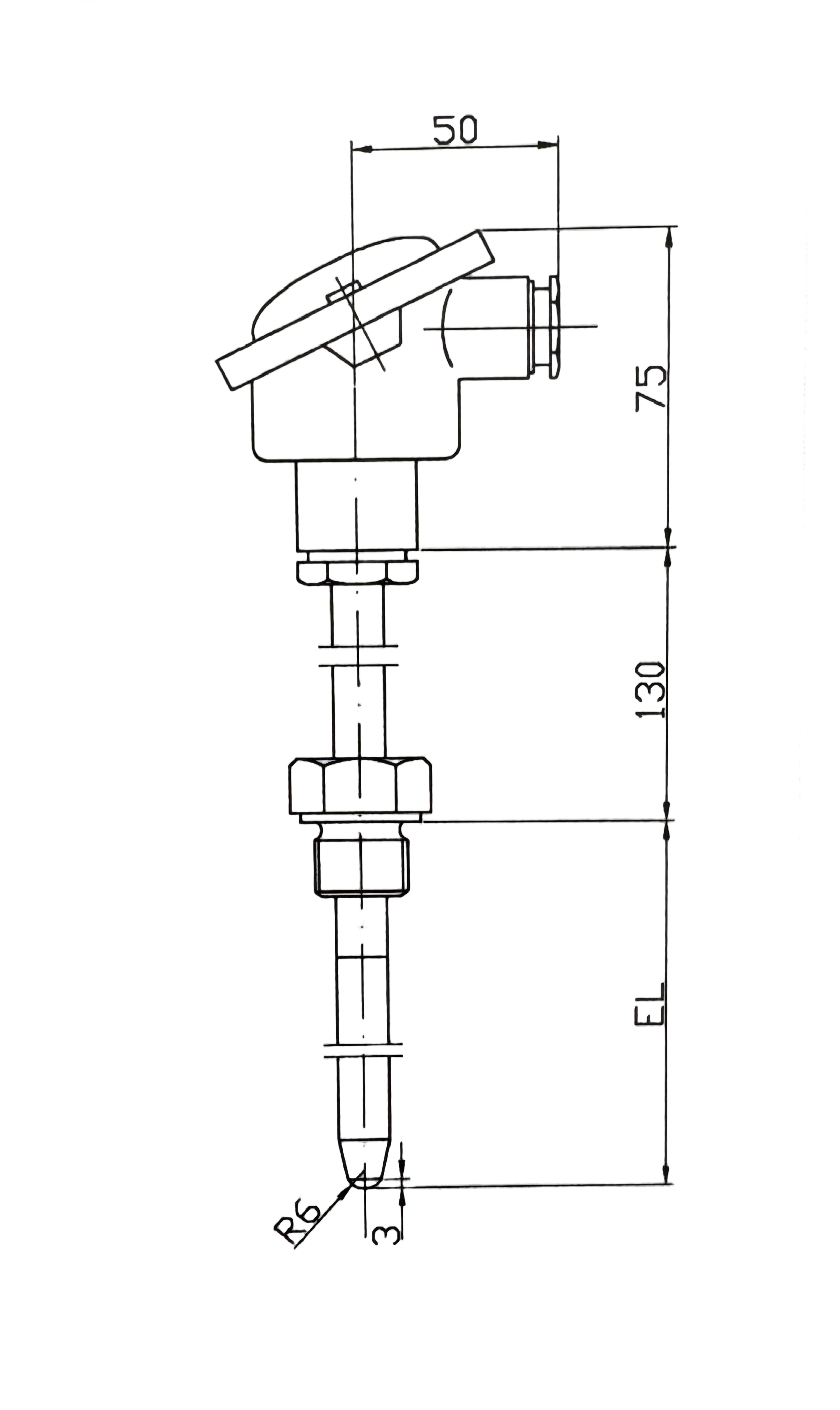
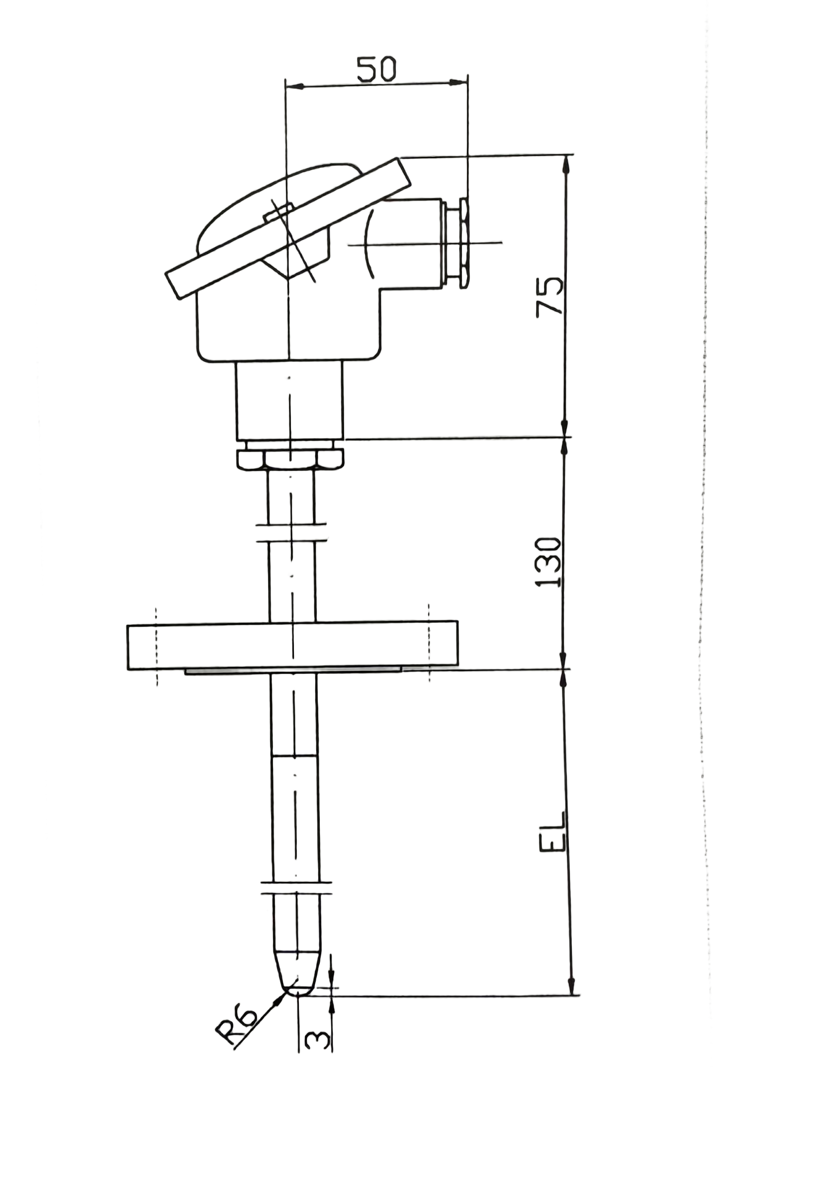
技术数据
热电偶芯镍铬一镍硅(K):-200~1150°C
镍铬—铜镍(E):-200~800°C

在线询价
详细内容 规格参数 产品包装

螺纹连接.png法兰连接.png