Product
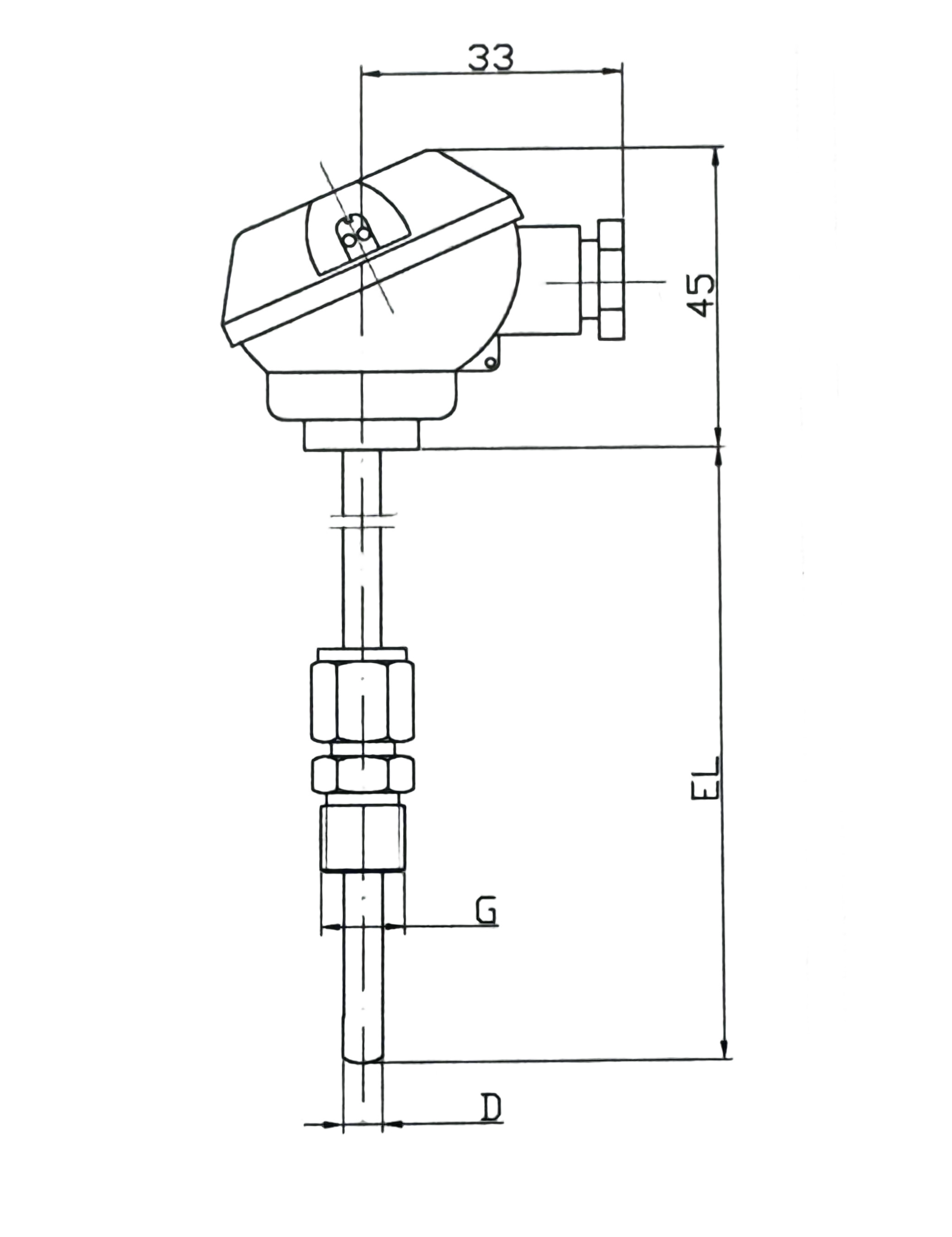
测温范围-200~800℃ 可提供单支或双支热电偶 多种过程连接方式可选,满足不同场合应用接线盒内可带温度变送器 根据实际测温范围选择不同材质偶芯适用于气体、液体的温度测量 应用 燃料锅炉塑料工业干燥机械、热电联产机组 制药、食品、电力、冶金、玻璃、化工、橡胶和纺织等行业 技术数据 热电偶芯 镍铬―镍硅(K):-200~800°C 镍铬―铜镍(E):-200~800°C 铁―铜镍(J):-200~750°C 铜一铜镍(T):-200~350°C
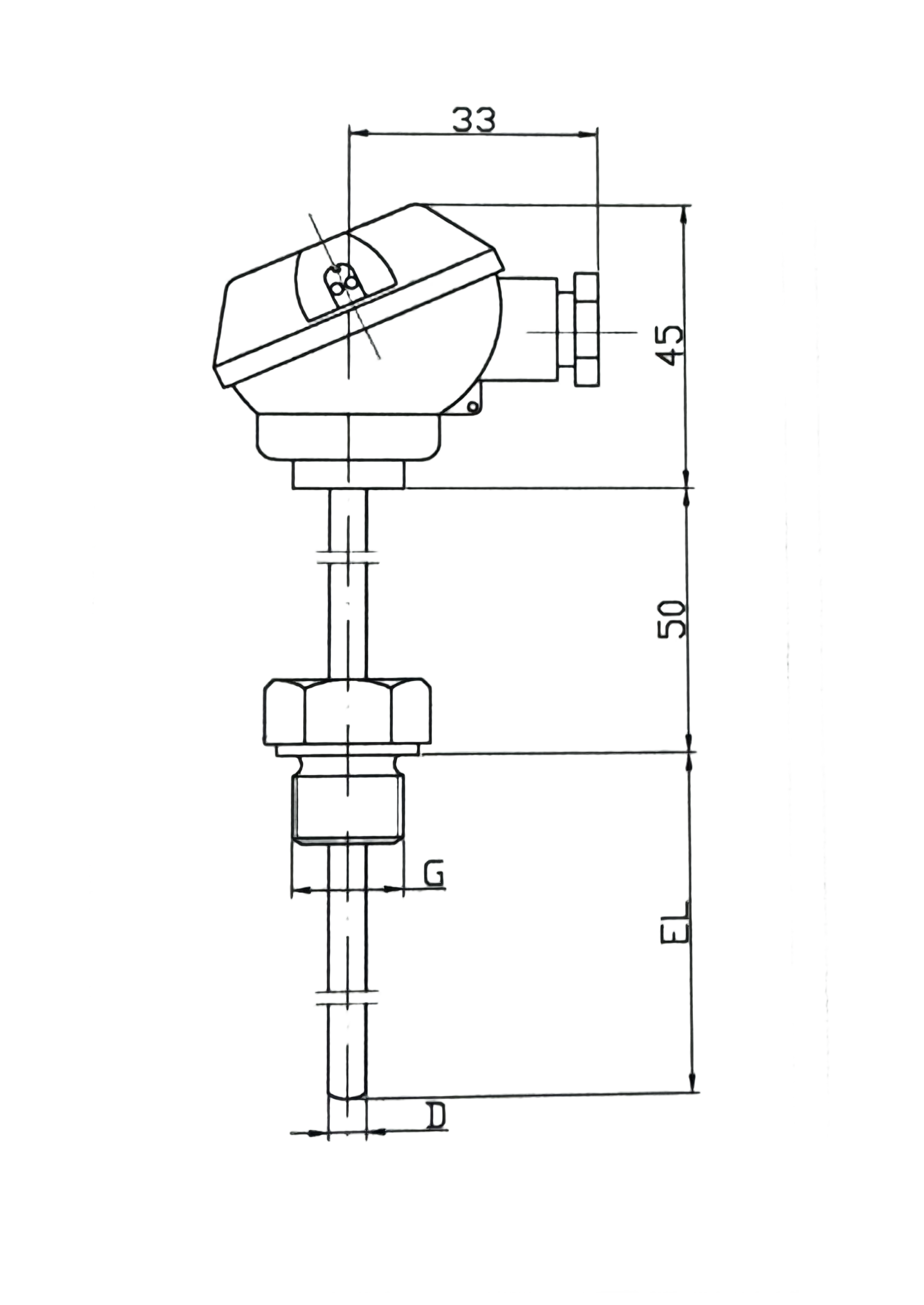
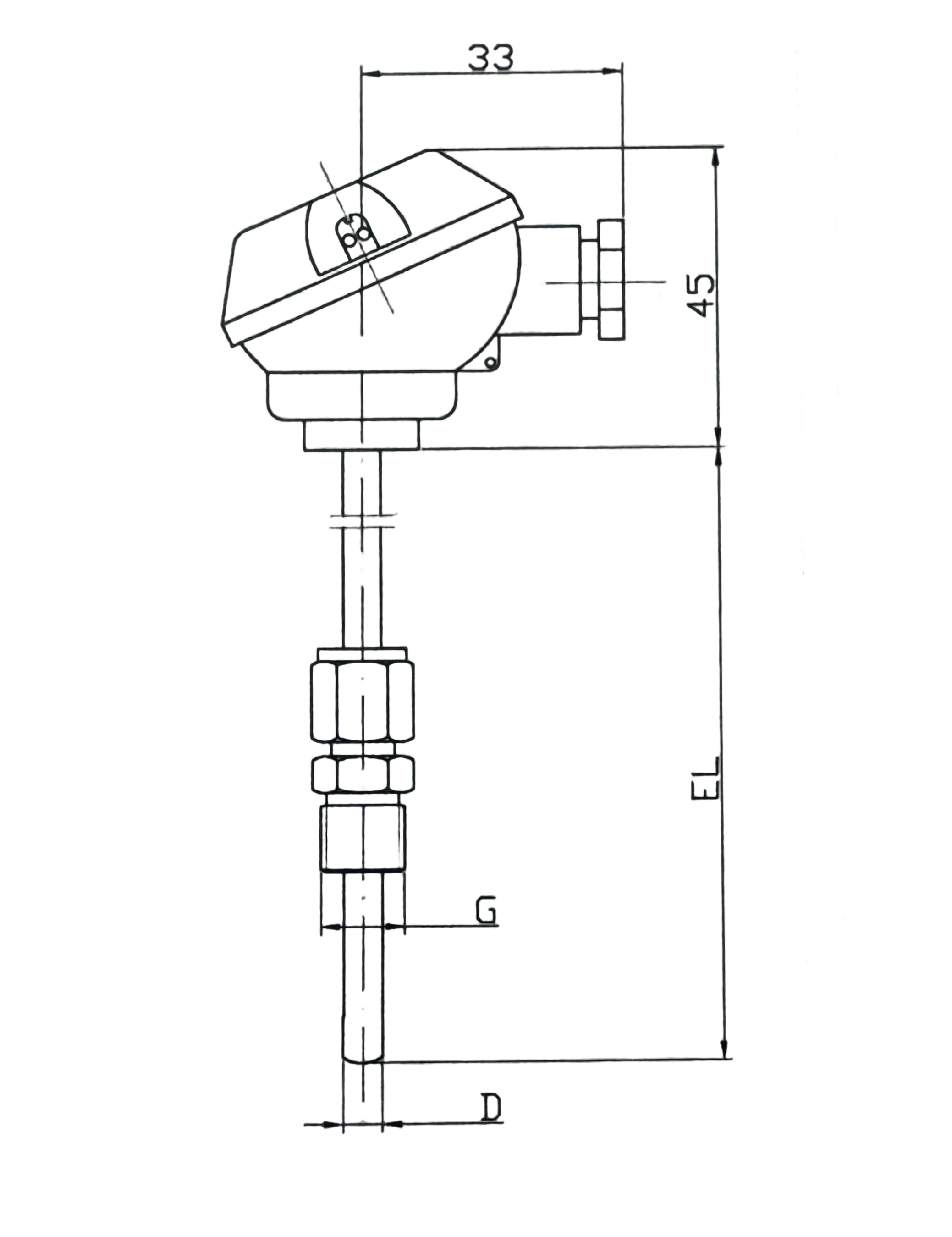
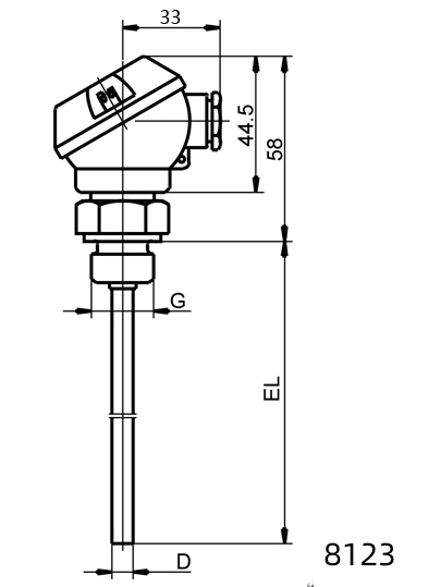
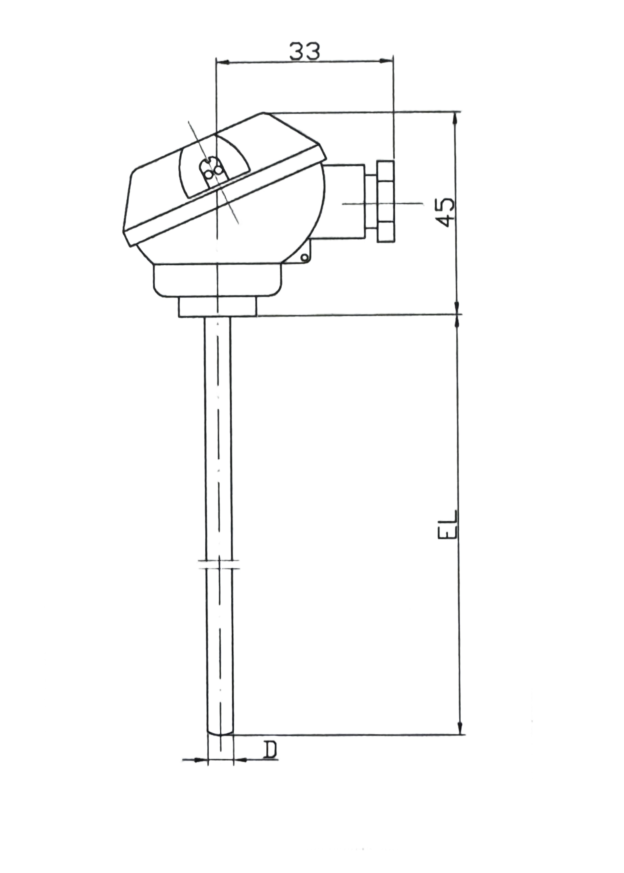
B型接线盒热电偶
导线式热电偶
铠装热电偶
耐磨热电偶
工业防爆热电偶
接线盒与温度变送器
热电偶补偿导线
热电偶铠装探头
首页
电话
留言
回到顶部