Product
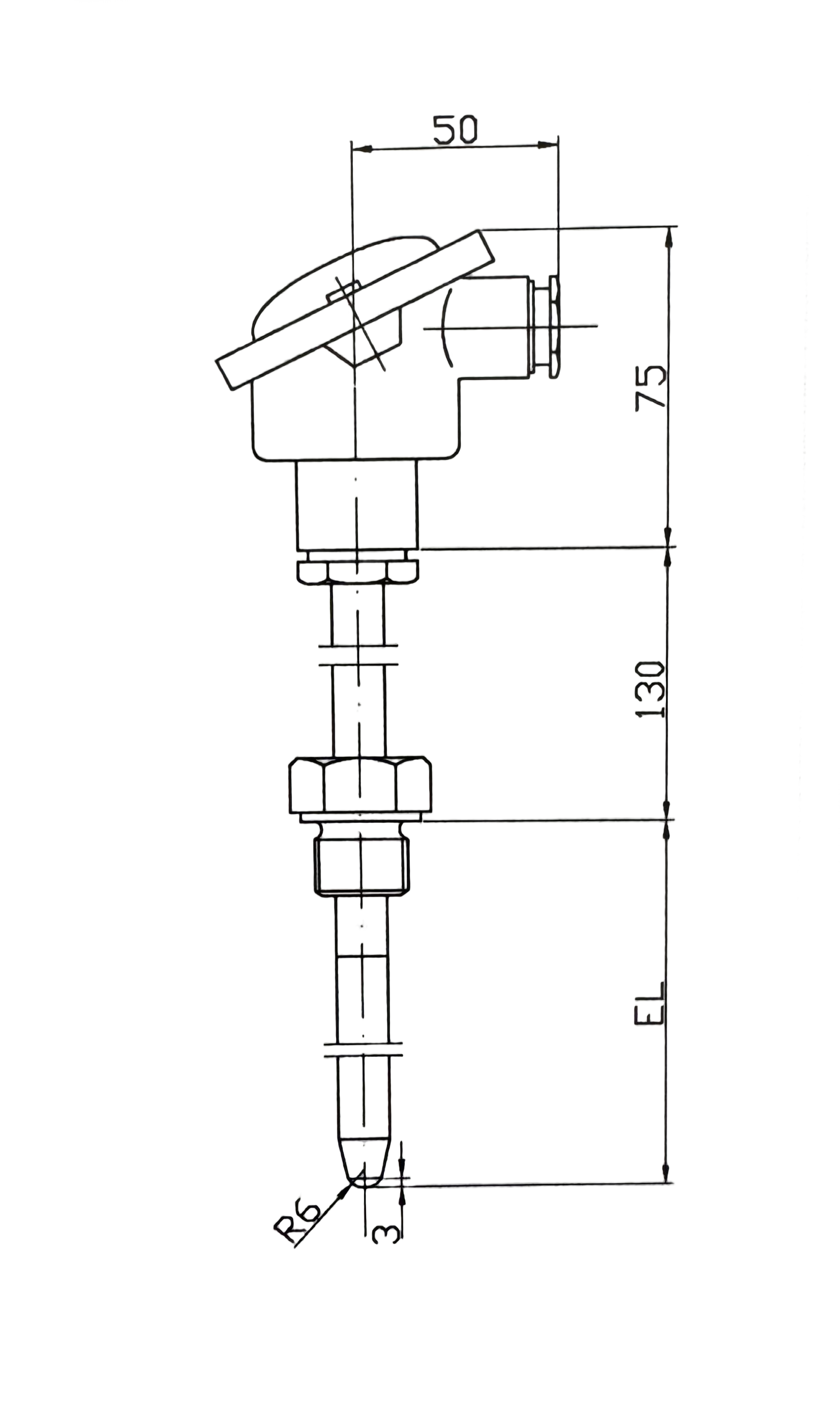
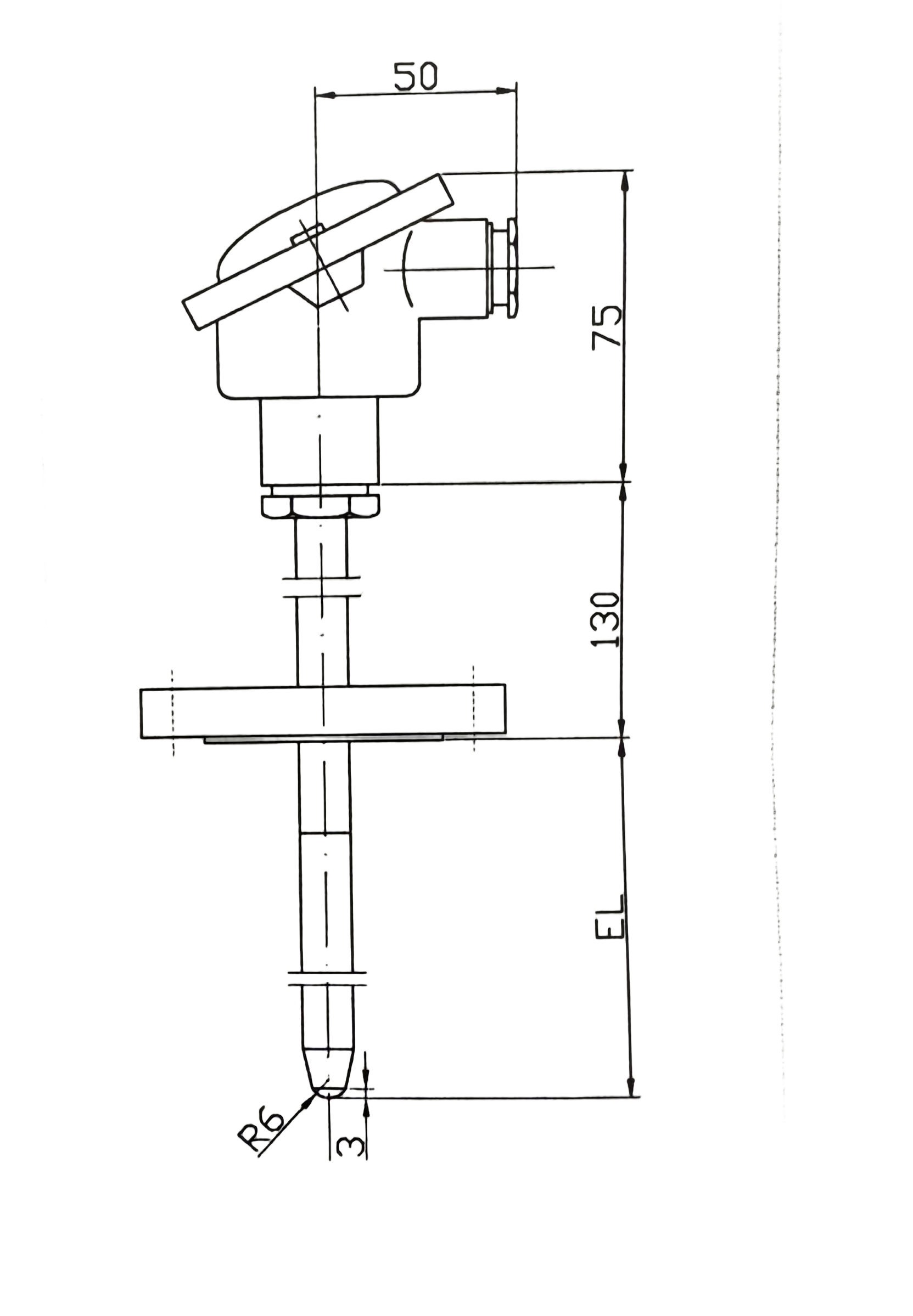
产品特点 测温范围-200~500°C 可提供单支或双支热电阻 多种耐磨材料可选,满足不同场合应用 接线盒内可带温度变送器 采用进口Pt100铂电阻元件 抗震耐磨、精度高,性能稳定 接线方式可选择两线、三线以及四线连接 应用 流化床(PFBC)、密炼机、水泥转窑、煤粉炉、球磨机、沸腾炉 电力、水泥、冶金、环保、玻璃、化工和橡胶等行业
B型接线盒热电偶
J型接线盒热电偶
导线式热电偶
铠装热电偶
耐磨热电偶
工业防爆热电偶
接线盒与温度变送器
热电偶补偿导线
首页
电话
留言
回到顶部